- 電池快速充電的分段恒流控制
- 快速充電方法的選擇
- 分段恒流充電控制方案
- 分段恒流充電智能化控制方案
摘要:基于電池快速充電基本原理,制定了電動汽車用電池的分段恒流充電方案。根據對分段恒流充電試驗結果的分析,對其控制策略進行了調整:按容量梯度法確定分段恒流充電終止控制參數,適當減小各段恒流值下降梯度,并將電池溫度設為充電安全保障控制參數。調整方案后的充電試驗結果表明,這種分段恒流充電控制方法可實現動力電池的智能化快速充電,有效縮短充電時間、提高充電效率。
電動汽車用電池的快速充電是電動汽車研究與開發過程中的重要課題。盡管許多實用化的充電設備或商用充電器具有快速充電及均衡充電的功能,但其通常是按事先設定的充電電流對電池進行充電。這種方法不能根據電池充電過程中的具體情況對充電電流進行調整,為了避免出現過充電,設定的充電電流通常偏小 ,因此充電時間仍然較長,而且由于不具備自適應能力,充電過程中容易出現過充電現象,對蓄電池的壽命不利。為了在實現快速充電的同時又不影響電池壽命,關鍵是要使快速充電過程具有自適應性,即根據電池的實際狀態自動調節充電電流的大小,使其始終保持在充電可接受電流的臨界值附近。為此,本文在電池快速充電理論基礎上,對分段恒流充電方法進行了試驗研究,以期實現動力電池的智能化快速充電和均衡充電。
1 電池快速充電的分段恒流控制
1. 1 快速充電方法的選擇
增大充電電流,電池極板上單位時間內恢復的活性物質增多,充電時間就可縮短,但過大的充電電流會損害電池。電池可接受的充電電流是有限的,且會隨充電時間呈指數規律下降。在電池充電過程中,充電電流曲線在該指數函數曲線以上時會導致電池電解液發生析氣反應 (過充電) ,反之則不能有效縮短充電時間。理想化的電池快速充電過程是充電電流始終保持在電池充電可接受電流的極限值,即充電電流曲線與該電池的充電可接受電流曲線相重合。本文選擇容易實現的分段恒流充電方法。其關鍵是要確定適當的分段恒流充電終止判斷標準、恒流充電分段數和各階段恒流充電電流值。
1. 2 分段恒流充電控制方案
要實現分段恒流充電的自動控制,階段恒流充電終止判斷參數可選擇充電時間、電池溫度和電池電壓等。大量的調查分析和電池充電試驗結果表明,單參數控制方法難以實現理想的分段恒流充電控制。
充電時間參數控制方法簡單 ,但電池型號不同、 充電起始狀態不同 ,所需的充電時間也不一樣 ,如果單以充電時間來控制階段恒流充電的結束 ,容易導致電池過充電或延長充電時間。溫度參數控制方法的優點是可實現電池溫度過高保護 ,但是由于環境和傳感器響應時間延遲的影響,如果僅以電池溫度參數作為階段恒流充電終止判斷標準 ,也容易造成電池的過充電。電壓參數控制被認為是較好的階段恒流充電終止控制方法 ,但其不足也是顯而易見的 ,比如:不能識別因電池極板硫化而產生的充電電壓異常升高以及電池充電過程中出現的異常溫升等 ,從而導致電池充電時間延長或電池的損壞。
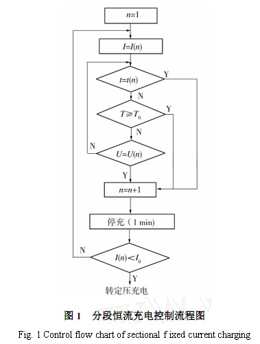
為了保證在各種情況下均能檢測電池的實際充電狀態 ,并實現較為理想的階梯形充電電流曲線 ,本文綜合了充電時間、 電池溫度和終止電壓 3個參數作為各階段恒流充電終止判斷依據 ,其控制流程如圖 1 所示。

T —電池溫度 ; T0—停充溫度 ; I0—最小恒流充電電流 ;t ( n)—第 n 次恒流充電的設定充電時間 ; I ( n)—第n 次恒流充電的設定電流值 ;U ( n)—第 n 次恒流充電的設定終止電壓分段恒流充電結束后再進行一段時間的定壓充電 ,是為了確保電池能完全充足 。3 個控制參數的具體控制策略如下 。
時間參數控制 :根據電池容量和充電電流 ,預先設定某段恒流充電的時間 ,當充電時間達到設定值時 ,通過定時器發出信號 ,結束該階段的恒流充電并自動將充電電流減小 ,進入下一段恒流充電 。
溫度參數控制 : 設定某段恒流充電至可接受電流極限時的電池溫度最高值 ,根據溫度傳感器檢測的電池溫度來控制充電裝置。當外界環境溫度較低 、設置的電池最高溫度較高時 ,采取控制溫升法 ,當電池的溫升達到設定值時 ,溫控器使充電裝置停止充電 ,直到溫度下降至適當值時 ,自動進入下一階段恒流充電 。
電壓參數控制:電池的絕對電壓可以反映電池的充電情況 ,設定某段恒流充電達到或接近充電可接受電流極限值的電壓 ,當電壓達到設定值時 ,充電裝置便自動結束本階段恒流充電 ,進入下一階段。[page]
1. 3 分段恒流充電試驗研究
根據 電 池 的 容 量 初 步 設 定 t ( n ) 、I ( n ) 和U ( n),進行充電試驗 ,充電過程中根據實際情況對 t ( n)、I ( n) 和 U ( n) 進行調整 ,然后再進行下一次充電試驗 。每次充電的電池初始狀態均為 3 h率完全放電[ 10 ],對各次試驗的充電時間 、充電效率和電池溫升等數據進行分析比較 ,從中選定充電時間最短 、電池溫升比較小的充電過程 ,其各階段的控制參數和充入的電量如表 1 和表 2 所示 ,分段恒流充電電流曲線如圖 2 所示 。



通過對試驗結果進行分析 ,可得出如下結論 :
(1) 各段恒流值 I ( n) 的梯度宜適當減小 。對比電池溫升情況及各段恒流充電終止狀況相近的幾次分段恒流充電過程發現 ,對于充足電所用時間而言 ,5 段恒流充電的時間最短 ,而 4 段恒流充電的時間短于 3 段恒流充電的時間 。因此 ,適當減小各段恒流值下降梯度 (分段數增加) ,可使實際充電電流曲線更接近充電可接受電流曲線 。
(2) 設定各恒流段充電時間t ( n) 的作用不大 。用定時器控制各恒流段充電時間t ( n) 比較容易實現 ,然而由于電池在恒流充電開始時的荷電狀態不同或因電池容量衰減導致充電可接受電流減小時 ,最佳的恒流充電時間也隨之改變 。電池狀態的不確定使最佳充電時間很難確定 。在試驗中常出現以下現象 : 某段恒流充電到了設定的充電時間 ,但充電電壓離終止電壓相差還很遠 ,這時 ,本試驗選擇了在該恒流值下繼續充電 ,直至充電電壓達到終止電壓 ; 某段恒流充電設定的充電時間還未到 ,但電池已大量析氣 (電解液“沸騰”) ,且充電電壓已高于設定的終止電壓或電池溫度升至限定值 ,這種情況下 ,充電器會立即停止該段恒流充電 ,自動轉入下一階段 。由此可見 ,在自動控制充電過程中 ,設定充電時間的作用不大 。
(3) 電池溫度不宜單獨作為分段恒流充電控制參數 。理論上 ,在開始充電時電池荷電狀態不同的情況下 ,電池溫度均可用作各階段恒流充電的自動停止控制參數 。但是 ,溫度傳感器的誤差和滯后性容易造成電池過充電 ,因此不宜單獨采用電池溫度作為分段恒流充電終止控制參數 。
(4) 終止電壓參數 U ( n) 對異常情況的自適應性較差 。將不同恒流值下的終止電壓設為控制參數 ,可自適應電池開始充電時的荷電狀態和電池使用過程中充電可接受電流的變化 ,且控制也比較簡單 。但是 ,當電池的性能出現異常變化時 ,原來設定的終止電壓可能會過高或過低 ,導致電池過充電或過早降低充電電流而延長了整個充電時間 。此外 ,在不同的恒流充電階段 ,電池內部的充電極化程度也不同 ,接近可接受電流極限時的充電電壓上升速率也會有明顯的差別 ,要準確地設置各種恒流充電狀態下的終止電壓難度很大 。
2 電池分段恒流充電的智能化控制
2. 1 分段恒流充電智能化控制方案
根據分段恒流充電試驗的結果與分析 ,對分段恒流充電控制方案作了如下調整 :
(1) 采用容量梯度法確定階段恒流充電終止標準。通過理論分析和大量試驗研究 ,本文認為采用容量梯度參數 dU / dC 作為階段恒流充電終止判斷標準較為適宜 。按該型電池恒流充電特性曲線確定充電終止容量梯度參數 ,充電過程中控制器以設定的頻度對充電電壓進行采樣 ,計算I ( n) 下的容量梯度值 ,并與設定的充電終止容量梯度標準進行比較 ,根據比較結果判斷是否終止當前階段恒流充電 。
(2) 減小各段恒流值下降梯度 。通過試驗確定該型電池初次恒流值I (1) ,并減小階段恒流充電的電流下降幅度 。如果降低充電電流后 ,達到充電終止容量梯度值的時間很短 (設定一個最小充電時間) ,則適當增大電流下降的幅度 。
(3) 將電池溫度設為充電安全保障控制參數 。設置電池最高溫度限定值 ,在充電過程中 ,如果電池溫度達到了限定值 ,立即停止充電 。當電池溫度降至正常溫度時 ,適當減小充電電流繼續充電 ,直到該段恒流充電結束。
2. 2 分段恒流充電智能化控制電路
分段恒 流 充 電 智 能 化 控 制 電 路 如 圖3 所示。該電路采用 CPU 控制 ,可對充電電池和充電環境溫度進行檢測 ,對電池充電進行計時 ,采樣充電過程中電池的電壓和電流 ,對分段恒流充
電過程進行控制 。

2. 3 智能化分段恒流充電試驗研究
根據調整后的分段恒流充電方案進行充電試驗 ,為便于比較 ,采用與方案調整前的充電試驗所用同一型號電池 ,充電初始狀態完全一樣。調整方案后的定流充電各階段的控制參數和充入的電量如表 3 所示 ,其定壓充電階段的控制參數和充入的電量與表的分段恒流充電電流曲線如圖 4 所示。

在調整方案后的分段恒流充電試驗過程中 ,電池沒有出現溫度過高而停止充電的情況 ,充電時間縮短了,充電效率也提高了,并且整個充電過程均按設定的程序自動進行,完全不需要人工干預,實現了智能化的快速充電。

3 結語
分段恒流充電使電池的實際充電電流曲線接近充電可接受電流曲線 ,是實現電池快速充電的有效方法。采用容量梯度法確定恒流充電終止標準參數,減小階梯恒流充電電流下降梯度 ,并輔以電池溫度過高則停止充電的保護控制 ,可實現動力電池的智能化快速充電控制。試驗結果表明 ,這種恒流充電控制方法可有效縮短充電時間 ,提高充電效率 ,延長電池使用壽命。



