- 無刷直流電機正弦波控制
- 霍爾相序自動測定
- 正弦波控制方式
- 超前換相角處理
無刷直流電機一般采用方波驅動,采用霍爾傳感器采樣轉子位置,以此為基準信號控制繞組強制換相。這種方案控制方法簡單,成本低,在目前電動車方案中應用廣泛。但由于方波驅動換相時會出現電流突變,導致轉矩脈動較大,轉動不平穩,噪聲指標較差,難以在家電應用領域推廣。而正弦驅動可以避免換相時的電流突變,雖然最大轉矩會降低,但在噪聲指標上有明顯的優勢。
通常電機變頻控制都采用DSP實現,還需要提供傳感器精確檢測轉子位置,可實現高精度控制,但DSP方案開發成本和應用成本都很高,家電應用對價格非常敏感,傳統的DSP電機矢量控制方案比較難推廣。由于某些家電應用對動態響應等性能要求不高,如風扇,可以用稍微降低性能但大幅度降低成本的方案來代替DSP方案。本文提出了8位單片機的正弦波驅動方案來滿足這種需求。
硬件選型
1正弦波信號產生
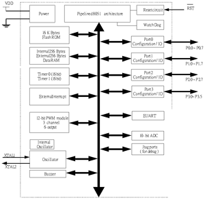
本方案控制核心為一顆集成PWM發生器的8位單片機——中穎SH79F168,其內部框圖如圖1所示。此MCU采用優化的單機器周期8051內核,內置16KB閃存,兼容傳統8051所有硬件資源,但最高指令執行速度提高12倍,采用JTAG在線仿真方式,內置16.6MHz振蕩器,同時擴展了如下功能:雙DPTR指針;16位×8乘法器和16位/8除法器;3通道12位帶死區控制PWM,6路輸出,輸出極性可單獨設定,提供中心對齊和邊沿對齊模式;集成故障檢測功能,可瞬時關閉PWM輸出;內置放大器和比較器,可用作電流放大采樣和過流保護;提供硬件抗干擾措施,例如PC指針溢出復位等;提供Flash自編程功能,可以模擬用做EEPROM,方便存儲參數。

圖1MCU內部框圖
由于集成PWM發生器和電流放大/比較器,一顆SH79F168就可以完成所有控制功能,而且采用8051內核,上手容易。
設計原理
整個系統采用SH79F168為主控MCU,MCU輸出的PWM信號直接和功率模塊連接,控制功率管的通斷。同時MCU還負責電壓電流ADC檢測,霍爾位置檢測,速度給定輸入轉換,實際轉速信號輸出以及電機控制算法等功能,結構如圖2所示。

圖2控制部分結構圖
[page]
功率部分采用智能功率模塊,可用MCU輸出信號直接控制,PCBLayout時需注意snubber電容要盡量靠近SPM,減小引線電感,同時自舉升壓二極管需選用高耐壓快恢復二極管,結構如圖3所示。

圖3功率部分結構圖
霍爾相序自動測定
為了實現自動判別霍爾(Hall)輸出信號與轉子磁動勢的位置關系,常采用的辦法是給二相繞組持續通電,讓轉子固定在某個位置,記錄下對應的Hall信號值。但這種方法有缺陷,定子合成磁勢的方向正好和霍爾位置重疊,這樣可能導致誤判。本方案采用另外一種方法避開解決此問題,采用三相通電,這樣定子合成磁勢的方向剛好與霍爾位置錯開30°電角度,確保了讀到的霍爾值的準確性。
正弦波控制方式
得知Hall輸出信號與轉子磁動勢位置的關系之后,可以產生正六邊形的旋轉磁場,如圖4所示,AB相繞組通電,產生圖中合成磁勢Fa,由于Fa的牽引,Ff將會順時針旋轉,旋轉到X位置后,換成給AC相通電,則Fa順時針跳躍60°電角度,牽引Ff順時針旋轉60°,依次類推,通電順序按照AB-AC-BC-BA-CA-CB-AB循環,則帶動永磁轉子順時針旋轉。這就是傳統的方波控制方式。

圖4二極三相繞組示意圖
由電機基礎理論可知:T=K*Fa*Ff*sinθ。式中K為常數,Ff為定子合成磁動勢,Fa為轉子磁動勢,θ為定子磁動勢和轉子磁動勢的夾角,顯然θ=90°時轉矩最大。方波控制以六步運行,θ在60°?120°之間變化,因此不是恒定轉矩,正弦波控制的目的就是控制定子磁鏈方向,盡量保持定子磁鏈方向和轉子磁鏈方向垂直。(這也就是DSP矢量控制追求的目標——定子磁鏈定向控制)。這樣轉矩最大且恒定,沒有轉矩脈動。
要想獲得上述效果,需要知道轉子精確位置,采用光電編碼盤定位準但成本高,家電應用中負載確定,電機轉速不會突變,因此本方案采用目前無刷電機標配的霍爾傳感器來檢測轉子位置。60°電角度內認為轉子速度恒定,轉子位置采用軟件模擬定位。轉子旋轉360°電角度,霍爾傳感器有六種輸出,在程序中作出一個360°正弦波的表,每隔60°分段,通過讀取3路霍爾的當前值,軟件取不同的段,取出的數據送入PWM發生器的占空比寄存器,就可以復現一個完整的360°正弦波,取表間隔時間以上一霍爾周期實際測試時間為參考動態調整。
超前換相角處理
上述方案實現的是理想狀態下的電壓驅動波形,只是保證電壓矢量是和轉子磁勢方向基本垂直,實際上由于電機是感性負載,電機定子電流矢量滯后于定子電壓矢量,因此定子磁勢也滯后于定子電壓矢量,也就是說,如果按照上述SPWM波形驅動電機,定子磁勢和轉子磁勢夾角將小于90°,電機轉矩不是最大,定子電流存在直軸分量,產生去磁效應,導致控制器的功率因素不高,因此需要加入超前換相處理。以便定子磁勢和轉子磁勢夾角盡量接近90°。軟件實現很簡單,只要在做正弦表時,將初始角度超前就可以,無須更改軟件結構。
如何調速
正弦波頻率是根據Hall信號的變化隨時調整,屬于自控式被動變頻,如果要調節電機速度,不能直接修改調制正弦波頻率,而是修改調制波幅度,因此軟件中取出的正弦表值會和外部的速度給定系數相乘后再寫入PWM發生器的占空比寄存器中,調制幅度修改后,電機上等效電壓變化,因此轉子轉速變化,而正弦調制波的頻率則依據轉子霍爾信號被動調整。





